Si algo tenía Casio que hacía que últimamente diera la sensación de que estaba perdiendo todos los trenes de la actualidad tecnológica, era la falta de dispositivos que otras marcas rivales ya tenían. Siempre mencionábamos los smartwatches como ejemplo de ésto, pero también otros dispositivos, como los smartphones o las pulseras inteligentes.
En justicia hay que reconocer que Casio nunca se destacó realmente por ser la primera en lanzar algo nuevo al mercado (no fueron los primeros en calculadoras, ni los primeros en relojes), pero sí en innovar sobre productos ya existentes. Parece que esa idea, que debería seguir latente en el fabricante nipón, y que siempre ha sido una de sus muchas virtudes y de su filosofía y personalidad, volverá a despertar en parte.
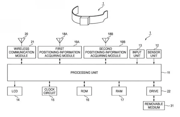
Es cierto: llega tarde, muy tarde a las pulseras fitness, o a las inteligentes, pero está ahí o, al menos, por lo que se entiende de estos preliminares datos técnicos que os adelantamos en Merca2, va a estar. El dispositivo en sí hay que reconocer que no está muy claro qué sera. Parece que podría ser una pulsera independiente, pero también podría funcionar perfectamente como un complemento de un reloj, o incluso como complemento digital de un reloj analógico convencional (habida cuenta del conocidísimo proceso de pasos a analógico que en Casio están llevando a cabo). Pero lo que os podemos decir es que será un módulo capaz de transmitir una señal de nuestra ubicación, con información de lo más variopinta que pueda obtener del satélite (hora, coordenadas geográficas, altitud… y con tecnología que podrá trabajar en dos sistemas de satélite a la vez: en el GPS norteamericano, y en el GLONASS ruso. Un sistema de control (un «interruptor», lo llaman ellos) elegirá de entre los dos, mediante la capacidad que tendrá de decididir el estado de la recepción.
La pulsera inteligente de Casio iniciará una dura batalla de dispositivos con recepción para GLONASS
Por otra parte, existirá una parte de almacenamiento de datos que será removible o, al menos, se podrá conectar a otros dispositivos (un ordenador, sería lo más lógico), en donde podremos repasar o utilizar para posterior tratamiento los desplazamientos almacenados.
Lo cierto es que todo ello supone un gran paso en el avance de Casio hacia la mejora de su sistema GPS, y es un punto crucial de partida para añadir a sus actuales modelos de reloj con esta tecnología, también la GLONASS. Como siempre ocurre con estas cosas, de momento está en fase de pruebas y diseño, pero esperemos verlo pronto en la calle en forma de un nuevo dispositivo electrónico. Estaremos atentos.









